10 patented systems · Science-based

Give taste to water.
Without adding anything.

WaterSense uses the science of smell to transform every sip into a full flavor experience. Any bottle, zero sugar, zero additives.

Flavor'ring on Evian bottle
Olfactive Technology
$544B Bottled Water Market ·
+12% Flavored Water Growth ·
10 Patented Systems ·
68% Would drink more water if it tasted better ·
80% of taste comes through smell ·
Zero Sugar · Zero Additives ·
Works with any bottle ·
$544B Bottled Water Market ·
+12% Flavored Water Growth ·
10 Patented Systems ·
68% Would drink more water if it tasted better ·
80% of taste comes through smell ·
Zero Sugar · Zero Additives ·
Works with any bottle ·
// Science-based sensoriality

Your nose is your taste.

80% of what you perceive as taste actually comes through smell. This is the underleveraged scientific insight at the heart of WaterSense.

By diffusing a precisely calibrated aroma at the moment you drink, WaterSense triggers your olfactory system to generate a complete flavor experience, while your water stays pure, clean, and unaltered.

🧠
Studies in Anosmia & taste perception
Murphy et al. (2002): Loss of smell = near-total loss of flavor perception
🔬
The role of retronasal olfaction
Small et al. (2004): Flavor activates olfactory, not gustatory brain regions
⚗️
Integration of smell and taste (EEG)
University of Franche Comté, CNRS, Institut Agro & ITMO St. Petersburg (2022)
80%
of your sense of taste
comes through your nose
Based on anosmia studies & retronasal olfaction research
0+
PCT Patents · Worldwide
International filings
// Our innovations

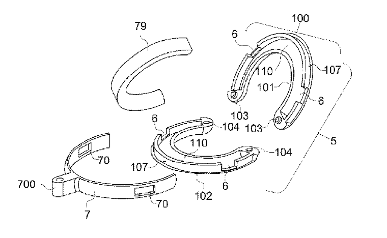
Multiple patented systems.
One simple idea.

0+
Patents filed
0 national · 0 PCT worldwide
Flavor'ring prototype on a bottle
Prototype · Hover for color
Device 01 · Flagship
Flavor'ring

A ventilated ring placed around the neck of any standard bottle. Rotate it to release precise aroma bursts through micro-ventilation. The automatic version uses gravity to open vents when you drink. No gesture needed. Fits any bottle. No production line changes required.

✓ Patented · ✓ B2B ready · ✓ Any bottle
01
Attach
Snap onto any standard bottle neck in seconds. No tools, no glue, no production change
02
Rotate
Turn the ring to open micro-vents and dial in the exact aroma intensity you want
03
Experience
Retronasal olfaction creates full flavor perception. Water molecules remain completely unchanged
Rotate to adjust scent intensity Fits any standard neck Micro-ventilation vents FLAVOR'RING — SCHEMATIC
Device 02
Flavor Cap'sule

Fixed inside the bottle cap, it releases an automatic aroma burst every time you open the bottle. Effortless, consistent, and water stays untouched.

✓ Auto-release on opening
01
Pre-loaded
Capsule is sealed inside the standard bottle cap, consumer-ready straight off the shelf
02
Auto-release
Every time the cap is opened, an aroma burst fills the air column above the water. Zero interaction required
Capsule releases aroma on opening CAP'SULE — SECTION VIEW
Device 03 · 04
Integrated Cap'sule

Embedded directly in the bottle cap, as a consumer-replaceable module or factory-integrated by beverage brands. Zero interaction, zero process change.

✓ B2B integration
03
B2B variant
Factory-integrated during production. No bottling line change, compatible with existing cap suppliers
04
Consumer variant
Replaceable cartridge that end-users swap to switch flavors, like an ink cartridge for your water
Factory-flush integration INTEGRATED CAP'SULE — SECTION VIEW
Flavor'ring on Evian bottle — B2B integration

Ready for any brand.

The Flavor'ring snaps onto any standard bottle neck — no production line change, no proprietary packaging. Demonstrated here on an Evian bottle.

✓ B2B ready · Any bottle · Zero modification
// A booming market

Why it makes scents.

68% of consumers say they would drink more water if it tasted better.
Opinion Way survey, 2024

$544B
+7% CAGR
Bottled Water
Projected market size by 2031, fueled by global hydration & wellness awareness.
$30B
+12% / year
Flavored Water
Booming segment as consumers seek healthier soda alternatives. No sugar, full taste.
2L
WHO daily target
Daily Hydration
Most people fall short. WaterSense makes drinking water genuinely desirable.
// Meet the device

The Flavor'ring

WaterSense Flavor'ring — product render
// Competitive edge

The market validated the concept.
We removed every barrier.

Existing olfactive solutions proved consumers love taste-through-scent. WaterSense makes it universal, affordable, and B2B-ready.

WaterSense
Universal · Affordable · Scalable
Works with any bottle
No proprietary bottle
No straw or mouthpiece
B2B integration ready
10 patented form factors
Mass market price point
Zero water additives
Existing solutions
Olfaction 1.0 · Niche
Proprietary bottle required
Bottle not universal
Special scented mouthpiece
No B2B integration path
Single form factor
High entry cost
Zero water additives
// Who is WaterSense for?

For anyone who drinks water.

01
Adults seeking better hydration

People who know they should drink 2L/day but find plain water boring. WaterSense makes it genuinely enjoyable, every single sip.

02
Parents & kids

Parents want healthy drinks. Kids want fun ones. WaterSense is exciting enough for children, clean enough for parents to feel good about it.

03
Dietary & health constraints

Diabetes, weight goals, sugar elimination: WaterSense delivers the pleasure of a flavored drink with absolutely zero metabolic impact.

// Flavor range

Endless flavor possibilities.

Raspberry
Lemon
Blueberry
// Visual range

Endless
flavour
possibilities

5 signature profiles. One universal system. Each ring delivers a distinct aroma — water unchanged.

🍓 Raspberry
🫐 Blueberry
🍋 Lemon
🌸 Cherry Blossom
🍑 White Peach
🥭 Mango
🌿 Mint
🍈 Pink Grapefruit
🌺 Hibiscus
🫙 Passion Fruit
🍃 Green Tea
🍊 Tangerine
🍓 Raspberry
🫐 Blueberry
🍋 Lemon
🌸 Cherry Blossom
🍑 White Peach
🥭 Mango
🌿 Mint
🍈 Pink Grapefruit
🌺 Hibiscus
🫙 Passion Fruit
🍃 Green Tea
🍊 Tangerine
// The team

Built by industry veterans.

💼
Matthieu de Chanville
M&A

HEC Paris. 17 years as an international strategy consultant — former Partner at Kearney and BCG. 10 years in VC/PE — former Head of the Renault-Nissan Investment Fund, and Co-Founder of Shift4Good, a €220M environmental impact fund.

📢
Michael Aïdan
Chief Marketing Officer

ESCP MBA. 35+ years at Pepsico, Danone (Evian), LVMH (Hennessy), EPI (Piper & Charles Heidsieck). Business Angel & Board Member.

🔬
Pier Paolo Monticone
Chief Innovation Officer

PhD, MBA, PMP, PSPO II. 15+ years leading R&D programs. Thought leader in AI-driven innovation with 100+ patents.

⚙️
Riccardo Riva R.
PMO

MSc Electronic Engineering, MBA. 25+ years in product development at Honeywell and Philip Morris International.

🧪
Flavio Bianco
Project Leader · Technology

MSc Materials Science & Engineering, EPFL (minor in Mechanical Engineering). R&D Project Manager intern at Rolex. Research on Freeze Desalination at the University of Hawaii at Manoa.

💡
Christine Pereno
Founder & Marketing

Master in Marketing, Paris-Dauphine. Co-founder of WaterSense IP. 13+ years as Innovation Consultant. Former Director of Circulation at Prisma Media. Focused on health-conscious innovation in food & beverage.

📊
Octave Hedarchet
Finance

Dual degree HEC Paris & ENSAE Paris · Management and Quantitative Finance. Strategic Consultant at HEC IMPULSE. M&A Analyst at ALTIOS International (DCF, deal modeling, cross-border transactions).

// Partnership exploration

Ready to make
scents together?

WaterSense is open to exploring strategic partnerships with players in the beverage industry. Prototypes available for demonstration.

All conversations confidential. Full deck available on request.